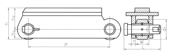
大節距重型馱載鏈的銷軸和套筒都經過整體硬化處理,由此允許在較高的壓力下鉸接在一起,而且可以承受經滾柱傳遞的載荷壓力和嚙合時的沖擊。各種強度的輸送鏈都有一系列不同的鏈條節距:MIN鏈條節距取決于鏈輪輪齒對足夠強度的要求,而MAX鏈條節距通常是由鏈板和通用鏈條的剛性決定的,如果有需要,通過強化鏈板之間的套筒就可以超越額定的MAX鏈條節距,但是必須在輪齒中保留用以去除套筒的間隙。節距范圍為300-700mm,拉伸斷裂載荷從588-5400kN,同一種拉伸斷裂載荷有一至六種節距規格的鏈條可供選擇,在此種節距大小并不完全反映鏈條強度的大小。這種大節距重型駝載鏈的結構較多,其中滾子直徑有125mm、135mm、150mm、175mm、245mm五種。以下為各型號鏈條的詳細參數。

| Chain no. | Pitch P1(mm) | Diameter of roller d1(mm) | Diameter of pin d2(mm) | Inner width of inner link b1(mm) | Length of pin L(mm) | Data of sidebar | Tensile strength Q(KN) | |||
| h(mm) | h1(mm) | h2(mm) | T | |||||||
| M-A1 | 700 | 245 | 78 | 155 | 355 | 340 | 103 | 217.5 | 38 | 5400 |

| Chain no. | Pitch P1(mm) | Inner width of inner link b1(mm) | Diameter of roller d1(mm) | Diameter of pin d2(mm) | Data of sidebar | Tensile strength Q(KN) | ||||
| h(mm) | h1(mm) | h2(mm) | L(mm) | T(mm) | ||||||
| JL60300 | 300 | 60 | 125 | 28 | 154.5 | 45 | 92 | 137 | 12 | 588 |
| JL60400 | 400 | 60 | 125 | 28 | 154.5 | 45 | 92 | 137 | 12 | 588 |
| JL60500 | 500 | 60 | 125 | 28 | 154.5 | 45 | 92 | 137 | 12 | 588 |
| JL90300 | 300 | 62 | 135 | 30 | 177.5 | 56 | 110 | 156 | 16 | 882 |
| JL90400 | 400 | 62 | 135 | 30 | 177.5 | 56 | 110 | 156 | 16 | 882 |
| JL90500 | 500 | 62 | 135 | 30 | 177.5 | 56 | 110 | 156 | 16 | 882 |
| JL90300W | 300 | 78 | 135 | 30 | 177.5 | 56 | 110 | 172 | 16 | 882 |
| JL90400W | 400 | 78 | 135 | 30 | 177.5 | 56 | 110 | 172 | 16 | 882 |
| JL90500W | 500 | 78 | 135 | 30 | 177.5 | 56 | 110 | 172 | 16 | 882 |
| JL130300 | 300 | 76 | 150 | 38.5 | 188 | 63 | 113 | 187 | 16 | 1274 |
| JL130400 | 400 | 76 | 150 | 38.5 | 188 | 63 | 113 | 187 | 16 | 1274 |
| JL130500 | 500 | 76 | 150 | 38.5 | 188 | 63 | 113 | 187 | 16 | 1274 |
| JL130600 | 600 | 76 | 150 | 38.5 | 188 | 63 | 113 | 187 | 16 | 1274 |
| JL160400 | 400 | 85 | 175 | 41.5 | 221.5 | 75 | 134 | 198 | 119 | 1569 |
| JL160500 | 500 | 85 | 175 | 41.5 | 221.5 | 75 | 134 | 198 | 19 | 1569 |
| JL160600 | 600 | 85 | 175 | 41.5 | 221.5 | 75 | 134 | 198 | 19 | 1569 |
Related Names
Deep Link Chain | Metal Industrial Chain | Double Pitch Conveyor Chain


